Engine Oiling, Oil Pan and Indicator (Dipstick) for 2008 Dodge Grand Caravan
Vehicle
2008 Dodge Grand Caravan
Change Vehicle
Categories
- Camshaft and Valve
- Crankcase Ventilation
- Crankshaft, Piston, Drive Plate, Flywheel, and Damper
- Cylinder Block
- Cylinder Head
- Engine Identification, Service Engines & Engine Service Kits
- Engine Mounting
- Engine Oil Cooler
- Engine Oiling, Oil Pan and Indicator (Dipstick)
- Manifolds and Vacuum Fittings
- Timing Belt/Chain and Cover and Balance Shaft
- Camshaft and Valve
- Crankcase Ventilation
- Crankshaft, Piston, Drive Plate, Flywheel, and Damper
- Cylinder Block
- Cylinder Head
- Engine Identification, Service Engines & Engine Service Kits
- Engine Mounting
- Engine Oil Cooler
- Engine Oiling, Oil Pan and Indicator (Dipstick)
- Manifolds and Vacuum Fittings
- Timing Belt/Chain and Cover and Balance Shaft
- Battery, Battery Tray and Cables
- Generators / Alternators
- Horns
- Ignition - Spark Plugs, Cables, Coils and Glow Plugs
- Instrument Panel Cluster
- Keys, Modules and Engine Controllers
- Lamps, Interior and Exterior
- Navigation
- Park Assist
- Power Distribution Center, Fuse Block, Junction Block, Relays and Fuses
- Radio, Antenna, Speakers, DVD and Video systems
- Sensors
- Speed Control
- Starters
- Switches
- Telecommunication
- Wiper and Washer System
- Wiring and Repair
- Wiring, Body and Accessories
- Wiring, Headlamp to Dash
- Wiring, Instrument Panel
- Wiring, Powertrain
- Carpets, Floor Mats, Load Floor and Silencers
- Consoles
- Door Trim Panels-Front and Rear
- Front Seats - Adjusters, Recliners, Shields and Risers
- Front Seats - First Row
- Headliners-Visors-Assist Straps
- Instrument Panel
- Lift Gate Panel and Scuff Plate
- Panels-Moldings-Scuff Plates, Pillar, Cowl, 1/4 Panel Trim and Cargo Covers
- Rear Seats - Second Row
- Rear Seats - Second Row - Adjusters, Recliners, Shields and Risers
- Rear Seats - Third Row
- Rear Seats - Third Row - Adjusters, Recliners, Shields and Risers
- Removeable / Stowable Table
- Camshaft and Valve
- Crankcase Ventilation
- Crankshaft, Piston, Drive Plate, Flywheel, and Damper
- Cylinder Block
- Cylinder Head
- Engine Identification, Service Engines & Engine Service Kits
- Engine Mounting
- Engine Oil Cooler
- Engine Oiling, Oil Pan and Indicator (Dipstick)
- Manifolds and Vacuum Fittings
- Timing Belt/Chain and Cover and Balance Shaft
- Camshaft and Valve
- Crankcase Ventilation
- Crankshaft, Piston, Drive Plate, Flywheel, and Damper
- Cylinder Block
- Cylinder Head
- Engine Identification, Service Engines & Engine Service Kits
- Engine Mounting
- Engine Oil Cooler
- Engine Oiling, Oil Pan and Indicator (Dipstick)
- Manifolds and Vacuum Fittings
- Timing Belt/Chain and Cover and Balance Shaft
- Battery, Battery Tray and Cables
- Generators / Alternators
- Horns
- Ignition - Spark Plugs, Cables, Coils and Glow Plugs
- Instrument Panel Cluster
- Keys, Modules and Engine Controllers
- Lamps, Interior and Exterior
- Navigation
- Park Assist
- Power Distribution Center, Fuse Block, Junction Block, Relays and Fuses
- Radio, Antenna, Speakers, DVD and Video systems
- Sensors
- Speed Control
- Starters
- Switches
- Telecommunication
- Wiper and Washer System
- Wiring and Repair
- Wiring, Body and Accessories
- Wiring, Headlamp to Dash
- Wiring, Instrument Panel
- Wiring, Powertrain
- Carpets, Floor Mats, Load Floor and Silencers
- Consoles
- Door Trim Panels-Front and Rear
- Front Seats - Adjusters, Recliners, Shields and Risers
- Front Seats - First Row
- Headliners-Visors-Assist Straps
- Instrument Panel
- Lift Gate Panel and Scuff Plate
- Panels-Moldings-Scuff Plates, Pillar, Cowl, 1/4 Panel Trim and Cargo Covers
- Rear Seats - Second Row
- Rear Seats - Second Row - Adjusters, Recliners, Shields and Risers
- Rear Seats - Third Row
- Rear Seats - Third Row - Adjusters, Recliners, Shields and Risers
- Removeable / Stowable Table
Browse Categories
Select category
- Camshaft and Valve
- Crankcase Ventilation
- Crankshaft, Piston, Drive Plate, Flywheel, and Damper
- Cylinder Block
- Cylinder Head
- Engine Identification, Service Engines & Engine Service Kits
- Engine Mounting
- Engine Oil Cooler
- Engine Oiling, Oil Pan and Indicator (Dipstick)
- Manifolds and Vacuum Fittings
- Timing Belt/Chain and Cover and Balance Shaft
- Camshaft and Valve
- Crankcase Ventilation
- Crankshaft, Piston, Drive Plate, Flywheel, and Damper
- Cylinder Block
- Cylinder Head
- Engine Identification, Service Engines & Engine Service Kits
- Engine Mounting
- Engine Oil Cooler
- Engine Oiling, Oil Pan and Indicator (Dipstick)
- Manifolds and Vacuum Fittings
- Timing Belt/Chain and Cover and Balance Shaft
- Battery, Battery Tray and Cables
- Generators / Alternators
- Horns
- Ignition - Spark Plugs, Cables, Coils and Glow Plugs
- Instrument Panel Cluster
- Keys, Modules and Engine Controllers
- Lamps, Interior and Exterior
- Navigation
- Park Assist
- Power Distribution Center, Fuse Block, Junction Block, Relays and Fuses
- Radio, Antenna, Speakers, DVD and Video systems
- Sensors
- Speed Control
- Starters
- Switches
- Telecommunication
- Wiper and Washer System
- Wiring and Repair
- Wiring, Body and Accessories
- Wiring, Headlamp to Dash
- Wiring, Instrument Panel
- Wiring, Powertrain
- Carpets, Floor Mats, Load Floor and Silencers
- Consoles
- Door Trim Panels-Front and Rear
- Front Seats - Adjusters, Recliners, Shields and Risers
- Front Seats - First Row
- Headliners-Visors-Assist Straps
- Instrument Panel
- Lift Gate Panel and Scuff Plate
- Panels-Moldings-Scuff Plates, Pillar, Cowl, 1/4 Panel Trim and Cargo Covers
- Rear Seats - Second Row
- Rear Seats - Second Row - Adjusters, Recliners, Shields and Risers
- Rear Seats - Third Row
- Rear Seats - Third Row - Adjusters, Recliners, Shields and Risers
- Removeable / Stowable Table
- Camshaft and Valve
- Crankcase Ventilation
- Crankshaft, Piston, Drive Plate, Flywheel, and Damper
- Cylinder Block
- Cylinder Head
- Engine Identification, Service Engines & Engine Service Kits
- Engine Mounting
- Engine Oil Cooler
- Engine Oiling, Oil Pan and Indicator (Dipstick)
- Manifolds and Vacuum Fittings
- Timing Belt/Chain and Cover and Balance Shaft
- Camshaft and Valve
- Crankcase Ventilation
- Crankshaft, Piston, Drive Plate, Flywheel, and Damper
- Cylinder Block
- Cylinder Head
- Engine Identification, Service Engines & Engine Service Kits
- Engine Mounting
- Engine Oil Cooler
- Engine Oiling, Oil Pan and Indicator (Dipstick)
- Manifolds and Vacuum Fittings
- Timing Belt/Chain and Cover and Balance Shaft
- Battery, Battery Tray and Cables
- Generators / Alternators
- Horns
- Ignition - Spark Plugs, Cables, Coils and Glow Plugs
- Instrument Panel Cluster
- Keys, Modules and Engine Controllers
- Lamps, Interior and Exterior
- Navigation
- Park Assist
- Power Distribution Center, Fuse Block, Junction Block, Relays and Fuses
- Radio, Antenna, Speakers, DVD and Video systems
- Sensors
- Speed Control
- Starters
- Switches
- Telecommunication
- Wiper and Washer System
- Wiring and Repair
- Wiring, Body and Accessories
- Wiring, Headlamp to Dash
- Wiring, Instrument Panel
- Wiring, Powertrain
- Carpets, Floor Mats, Load Floor and Silencers
- Consoles
- Door Trim Panels-Front and Rear
- Front Seats - Adjusters, Recliners, Shields and Risers
- Front Seats - First Row
- Headliners-Visors-Assist Straps
- Instrument Panel
- Lift Gate Panel and Scuff Plate
- Panels-Moldings-Scuff Plates, Pillar, Cowl, 1/4 Panel Trim and Cargo Covers
- Rear Seats - Second Row
- Rear Seats - Second Row - Adjusters, Recliners, Shields and Risers
- Rear Seats - Third Row
- Rear Seats - Third Row - Adjusters, Recliners, Shields and Risers
- Removeable / Stowable Table
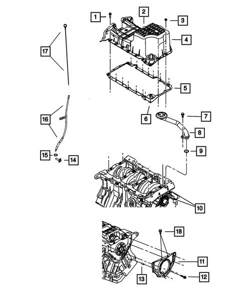
No.
Part # / Description / Price
2
Oil Drain Plug
Mopar
MSRP $15.85
Mopar 170 hp. With Gasket. For 05184513AC Oil Pan. Use 10-23-02 And After. Use 10-28-02 And After. [M14x1.50x21.50].
3
Hex Flange Nut
Mopar
MSRP $4.20
Mopar Hex Flange Lock Nut, Mounting
M8x1.25x8.0. Park Brake Lever to Park Brake Sled
7
Hex Head Locking Bolt, Mounting
Mopar
MSRP $11.00
Mopar M8X1.25X25.25. Engine Oil Pick Up Tube To Engine Oil Pump
13
14
Hex Flange Head Bolt, Mounting
Mopar
Mopar M8X1.25X12.00. Oil Level Indicator Tube To Cylinder Block [M8x1.25x12.00]
No.
Part # / Description / Price
5
Hex Head Bolt And Washer
Mopar
MSRP $11.30
Mopar Hex Head Bolt And Washer, Mounting
M6X1.00.X25.00. Debris Shield To Skid Plate

